咨詢熱線
15231779603
產品描述:TGL尼龍彈性圈鼓形齒聯軸器其內齒圈材料采用MC尼龍材料,外齒軸套采用45號鍛鋼,具有尺寸小,重量輕,轉動慣量小,噪音小,裝拆方便,不用潤滑等優點
15231779603

TGL尼龍彈性圈鼓形齒聯軸器其內齒圈材料采用MC尼龍材料,外齒軸套采用45號鍛鋼,具有尺寸小、重量輕、轉動慣量小、噪音小、裝拆方便、不用潤滑等優點,可應用于中小轉矩的工況環境,例如風機、水泵、潤滑泵、紡織機械等。
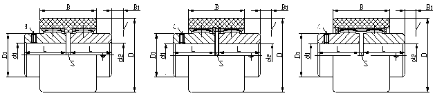
TGL型尼龍內齒圈鼓形齒式聯軸器為國標型號,我廠生產的另一種尼龍內齒圈聯軸器為NL型內齒形彈性聯軸器。TGL型鼓形齒尼龍齒圈聯軸器有以下三種結構型式: A---型基本型: B---型內擋圈型: C---型外擋圈型

| 注:1、瞬時過載轉矩不得大于公稱轉矩的2倍。 2、質量和轉動慣量是各型號中*大值的近似計算值。 3、B1是保證原動機或工作機安裝所必需的*小尺寸。 4、推薦TGL10~TGL12采用B型。 TGL聯軸器許用補償量 |

聯系電話:
手機號碼:
企業Q Q:
聯系郵箱:
公司地址: